Компанія Tesla запатентувала революційну конструкцію автомобільного крісла для свого майбутнього спорткара Roadster. Новий підхід до виробництва сидінь може змінити процес складання машин, суттєво зменшивши їхню вагу та складність виготовлення. Про це пише Autoblog, повідомляють Dengi.ua.
Традиційні автомобільні крісла складаються з десятків окремих компонентів: важких металевих кронштейнів, складних механізмів нахилу, кріплень підголівників і безлічі болтів. Новий патент Tesla (US 20260061898 A1) відкидає цю класичну схему.
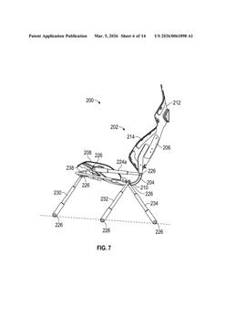
Інженери Ілона Маска розробили єдину монолітну композитну раму. Подушка сидіння, спинка, підголівник і бічна підтримка виготовляються як одна суцільна деталь шляхом термоформування. Очікується, що для створення таких каркасів будуть використовуватися передові легкі матеріали: вуглецеве волокно, кевлар або склопластик.
Замість класичних механічних регуляторів нахилу спинки, Tesla впроваджує так званий "гнучкий шарнір" - рухливу зону, інтегровану безпосередньо в композитний каркас. Саме крісло розділене на шість зон з різним рівнем жорсткості для оптимальної ортопедичної підтримки тіла.
Керування положенням сидіння здійснюватиметься за допомогою чотирьох пар прихованих електроприводів, які забезпечують рух у шести напрямках. Уся система контролюватиметься програмним забезпеченням, що перетворює крісло на смарт-гаджет. Крім того, в монолітну раму вже на етапі відливання закладаються вентиляційні канали та безпечні шляхи для розгортання подушок безпеки.
Наразі інноваційні сидіння створено спеціально для нового покоління Tesla Roadster, презентація якого після багатьох років затримок очікується найближчим часом. Однак аналітики зазначають, що наслідки цього патенту виходять за межі одного преміального гіперкара. Якщо компанії вдасться масштабувати технологію, це дасть змогу істотно спростити виробництво сидінь для всіх майбутніх електромобілів Tesla.
Раніше ми писали, що Японія на крок наблизилася до ери літаючих таксі: у Токіо відбувся успішний демонстраційний політ транспорту майбутнього.
Також ми вже писали, що в лютому 2026 року українці придбали близько 4,4 тис. нових легкових автомобілів, що на 10% менше, ніж у лютому 2025 року.


